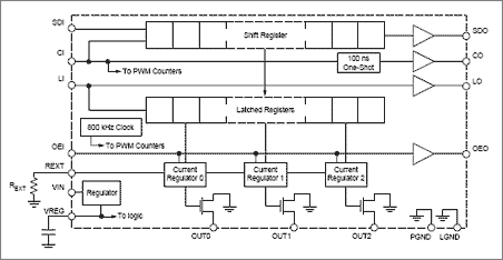
Functional block diagram of Allegro’s A6281.
https://zmi.led-professional.com/Plone/media/products_led-driver-ics-modules_allegro-r-introduces-a-new-three-channel-constant-current-led-driver_allegro_a6281_fbd-gif/view
https://zmi.led-professional.com/Plone/media/products_led-driver-ics-modules_allegro-r-introduces-a-new-three-channel-constant-current-led-driver_allegro_a6281_fbd-gif/@@images/image-1200-b70664a5968b8381bf269fc9b97c4797.png
Functional block diagram of Allegro’s A6281.
Dimension
452x234