The Global
Information Hub for
Lighting Technologies
and Design
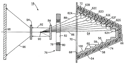
Schematic side view of the lighting systemhttps://zmi.led-professional.com/Plone/media/resources-1_intellectual-properties_diode-lighting-system_us7152996-gif/viewhttps://zmi.led-professional.com/Plone/media/resources-1_intellectual-properties_diode-lighting-system_us7152996-gif/@@images/image-1200-5f8d574c8558d1c4e31fe3d736047f18.png