The Global
Information Hub for
Lighting Technologies
and Design
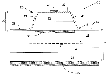
Cross sectional schematic view of a light emitting diodehttps://zmi.led-professional.com/Plone/media/resources-1_intellectual-properties_external-extraction-light-emitting-diode-based-upon-crystallographic-faceted-surfaces_external_extract_light-gif/viewhttps://zmi.led-professional.com/Plone/media/resources-1_intellectual-properties_external-extraction-light-emitting-diode-based-upon-crystallographic-faceted-surfaces_external_extract_light-gif/@@images/image-1200-5f8d574c8558d1c4e31fe3d736047f18.png
Cross sectional schematic view of a light emitting diode