The Global
Information Hub for
Lighting Technologies
and Design
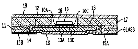
Overview of a control system of the present inventionhttps://zmi.led-professional.com/Plone/media/resources-1_intellectual-properties_intelligent-drive-circuit-for-a-light-emitting-diode-led-light-engine_us7098483-1-gif/viewhttps://zmi.led-professional.com/Plone/media/resources-1_intellectual-properties_intelligent-drive-circuit-for-a-light-emitting-diode-led-light-engine_us7098483-1-gif/@@images/image-1200-5f8d574c8558d1c4e31fe3d736047f18.png
Overview of a control system of the present invention