The Global
Information Hub for
Lighting Technologies
and Design
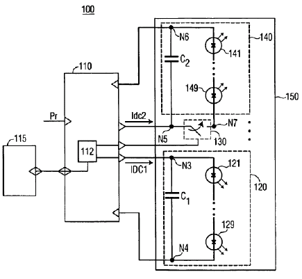
Schematic diagram of the LED system for the present inventionhttps://zmi.led-professional.com/Plone/media/resources-1_intellectual-properties_led-system-for-illumination-and-data-transmission_led_system_for_illumination-gif/viewhttps://zmi.led-professional.com/Plone/media/resources-1_intellectual-properties_led-system-for-illumination-and-data-transmission_led_system_for_illumination-gif/@@images/image-1200-7b22de20f756654eb9e9162cab9c65b7.png
Schematic diagram of the LED system for the present invention