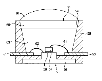
Sectional view illustrating a light emitting diode package
https://zmi.led-professional.com/Plone/media/resources-1_intellectual-properties_light-emitting-diode-package-having-multiple-molding-resins_patent_06_08_06_molding_resin-png/view
https://zmi.led-professional.com/Plone/media/resources-1_intellectual-properties_light-emitting-diode-package-having-multiple-molding-resins_patent_06_08_06_molding_resin-png/@@images/image-1200-7b22de20f756654eb9e9162cab9c65b7.png
Sectional view illustrating a light emitting diode package
Dimension
359x285