The Global
Information Hub for
Lighting Technologies
and Design
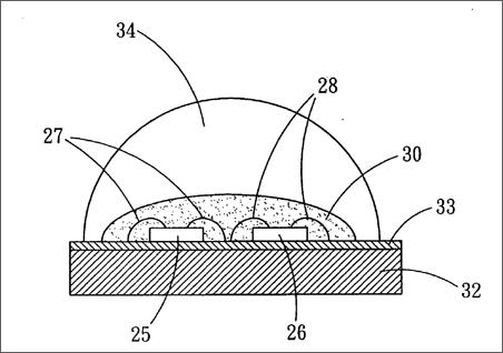
Three wavelength led structure with two dice according to the present invention.https://zmi.led-professional.com/Plone/media/resources-1_intellectual-properties_three-wavelength-led-structure_us_20070108455a1-gif/viewhttps://zmi.led-professional.com/Plone/media/resources-1_intellectual-properties_three-wavelength-led-structure_us_20070108455a1-gif/@@images/image-1200-bad40b5bdeba6123aad24f29e3ef3d1b.png
Three wavelength led structure with two dice according to the present invention.