The Global
Information Hub for
Lighting Technologies
and Design
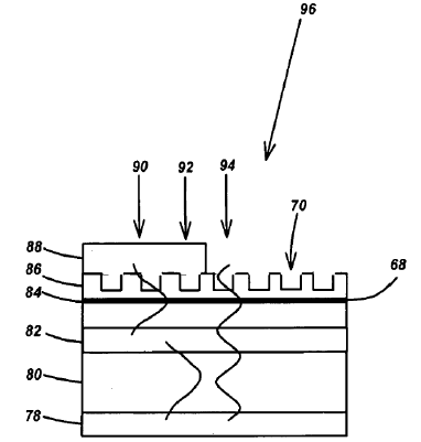
Cross sectional side view of the structurehttps://zmi.led-professional.com/Plone/media/technology_intellectual-properties_high-efficiency-light-emitting-diode-led-with-optimized-photonic-crystal-extractor_photonic_crystal_extract-gif/viewhttps://zmi.led-professional.com/Plone/media/technology_intellectual-properties_high-efficiency-light-emitting-diode-led-with-optimized-photonic-crystal-extractor_photonic_crystal_extract-gif/@@images/image-1200-9df6b9f62df2bbfc6524da7ce3159457.png