The Global
Information Hub for
Lighting Technologies
and Design
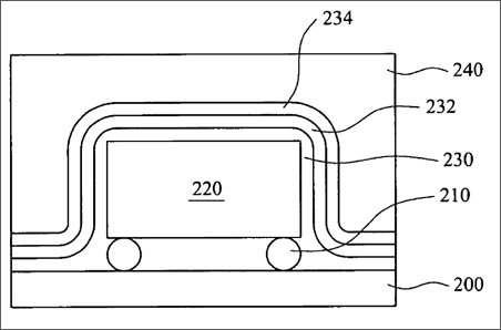
LED package structure according to a preferred embodiment of the present inventionhttps://zmi.led-professional.com/Plone/media/technology_intellectual-properties_led-package-structure-and-method-for-manufacturing-the-same_us20070215998_a1-gif/viewhttps://zmi.led-professional.com/Plone/media/technology_intellectual-properties_led-package-structure-and-method-for-manufacturing-the-same_us20070215998_a1-gif/@@images/image-1200-9df6b9f62df2bbfc6524da7ce3159457.png
LED package structure according to a preferred embodiment of the present invention