The Global
Information Hub for
Lighting Technologies
and Design
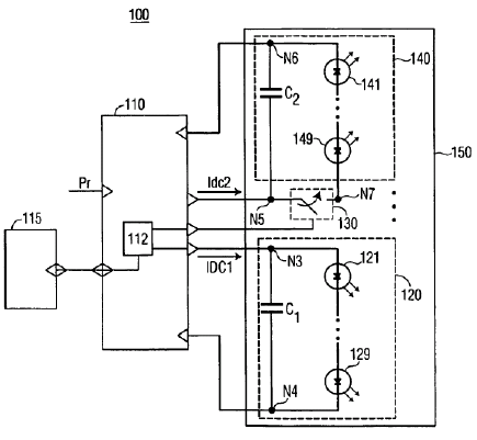
Schematic diagram of the LED system for the present inventionhttps://zmi.led-professional.com/Plone/media/technology_intellectual-properties_led-system-for-illumination-and-data-transmission_led_system_for_illumination-gif/viewhttps://zmi.led-professional.com/Plone/media/technology_intellectual-properties_led-system-for-illumination-and-data-transmission_led_system_for_illumination-gif/@@images/image-1200-9df6b9f62df2bbfc6524da7ce3159457.png
Schematic diagram of the LED system for the present invention