The Global
Information Hub for
Lighting Technologies
and Design
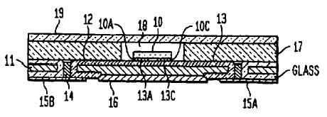
Schematic cross section of an LED packaged for high temperature operationhttps://zmi.led-professional.com/Plone/media/technology_intellectual-properties_light-emitting-diodes-packaged-for-high-temperature-operation-1_us7098483-1-gif/viewhttps://zmi.led-professional.com/Plone/media/technology_intellectual-properties_light-emitting-diodes-packaged-for-high-temperature-operation-1_us7098483-1-gif/@@images/image-1200-7d59bc7d2e85cd9798a29a32ae297b7b.png
Schematic cross section of an LED packaged for high temperature operation